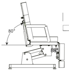
TECNO STUDIO BED 370.059 LETTINO – XANITALIA

Lettino elettrico 1 motori

Electric massage 1-motor bed